Click TV Wall Mount Manual Guide

M.Beartooth 61 views
Click TV Wall Mount Manual Guide

Click TV Wall Mount Manual Guide

Hey guys! So, you’ve just got your hands on a new TV, and you’re thinking, “You know what would make this awesome? Mounting it on the wall!” And then you look at that box with the Click TV Wall Mount Manual inside, and maybe it looks a little… intimidating. Don’t sweat it! We’re here to break down everything you need to know to get that TV mounted securely and looking slick. This guide is all about making the Click TV Wall Mount Manual process as smooth as possible, even if you’re a total beginner. We’ll cover the essentials, from understanding what’s in the box to the actual installation steps, and even some handy tips to avoid common pitfalls. So, grab your tools, maybe a friend for an extra pair of hands (highly recommended!), and let’s get this done!

Understanding Your Click TV Wall Mount Package

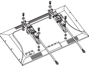
Alright, first things first, let’s dive into what you’ll typically find when you open up your Click TV Wall Mount box. It’s super important to familiarize yourself with all the components before you even think about grabbing a drill. Usually, you’ll find the main mounting bracket that attaches to the wall, and then the corresponding arms or plate that connect to the back of your TV. The Click TV Wall Mount Manual will have a detailed list, but generally, you’re looking at: hardware (screws, washers, bolts – lots of different kinds!), wall anchors (essential for different wall types), and spacers (these are small little doodads that might be needed between the TV and the mount). The manual is your best friend here. Seriously, read it! It will show you exactly which screw or bolt is for which part and what type of wall it’s designed for. Don’t just eyeball it; using the wrong screw can be a real headache, or worse, unsafe. Many mounts come with a variety of screws to fit different TV models, so you might have extras – that’s normal! Just make sure you’re using the ones specified for your TV in the Click TV Wall Mount Manual . Take a moment to lay everything out, compare it to the parts list in the manual, and get a feel for what goes where. This initial step is crucial for a stress-free installation.

Pre-Installation Checks: Safety First!

Before we get to the fun part – drilling holes – let’s talk safety. This is non-negotiable , guys. The Click TV Wall Mount Manual will emphasize this, and so do we. First, check your wall type . Are you mounting into drywall? Plaster? Concrete? Brick? This is critical . Drywall alone can’t hold the weight of a TV. You need to find studs (the wooden or metal beams inside your wall) or use appropriate heavy-duty wall anchors. The manual will usually guide you on which anchors to use for which wall type. If you’re unsure, it’s always better to err on the side of caution and consult a professional. Next, locate your studs . A stud finder is your best buddy here. Mark the center of each stud where you plan to mount the bracket. Don’t just guess! The Click TV Wall Mount Manual will show you how to align the mount with these studs for maximum support. Also, check the weight capacity of the mount. Is your TV lighter than the maximum weight the mount can hold? A quick peek at your TV’s specs and the mount’s manual will confirm this. Finally, consider cable management . Think about where your cables will run before you mount the TV. Do you want them hidden in the wall? Surface-mounted raceways? Planning this now will save you a lot of hassle later. The Click TV Wall Mount Manual might offer some basic suggestions, but it’s good to have your own plan.

Step-by-Step Installation: Following the Click TV Wall Mount Manual

Alright, let’s get down to business! Grab your tools: a drill with appropriate bits, a level, a stud finder, a screwdriver (usually Phillips head), a tape measure, and a pencil. The Click TV Wall Mount Manual is your primary guide, so keep it handy. Step 1: Attach the TV Brackets/Arms. This involves screwing the bracket arms or plate onto the back of your TV. Again, use the correct screws and spacers as indicated in the manual. Make sure they are snug but don’t overtighten, as you could damage your TV. Step 2: Locate and Mark Wall Studs. Use your stud finder to find the studs where you want to mount the bracket. Hold the wall plate against the wall at your desired height and use your level to ensure it’s perfectly straight. Mark the screw hole locations on the wall, making sure at least two are aligned with the center of studs. Step 3: Drill Pilot Holes. Drill pilot holes at your marked locations. The size of the drill bit should be specified in the Click TV Wall Mount Manual – it’s usually slightly smaller than the lag bolts you’ll be using. If you’re using wall anchors, follow the manual’s instructions for installing those first. Step 4: Mount the Wall Plate. Align the wall plate with your pilot holes and use the provided lag bolts (and washers) to secure it firmly to the wall. This is the most critical step for safety. Make sure the bolts are driven securely into the studs or anchors. Use your level again to double-check it’s straight before fully tightening. Step 5: Hang the TV. This is where that second pair of hands really comes in handy! Carefully lift your TV and hook the arms on the back of the TV onto the wall plate. You should hear or feel a ‘click’ if it’s a Click TV Wall Mount, indicating it’s securely locked. Step 6: Secure and Test. Most mounts have a safety screw or locking mechanism to prevent the TV from accidentally being lifted off. Tighten these as per the Click TV Wall Mount Manual . Gently wiggle the TV to ensure it’s stable and secure. Step 7: Cable Management. Now, connect your cables and tidy them up using any included clips or raceways. You’ve done it!

Troubleshooting Common Issues with Your Click TV Mount

Even with the best Click TV Wall Mount Manual , things can sometimes go a little sideways. Don’t panic! Let’s run through some common snags. Issue 1: The TV isn’t level. If your TV is leaning slightly, don’t immediately assume the worst. First, check if the mount itself is level on the wall – this is the most common culprit. If the wall plate is straight, some mounts have adjustment screws that allow you to fine-tune the TV’s tilt or angle. Consult your Click TV Wall Mount Manual to see if your model has these features and how to use them. Issue 2: Screws don’t seem to fit. This is where having those extra hardware options comes in handy, but also where you need to be sure you’re using the right ones. Double-check the manual’s diagrams. Are you using the correct length and diameter screw for the TV VESA holes? Are you using the right bolts for the wall plate? Sometimes, the included spacers are essential to create a flush fit and prevent the screws from going too deep. Issue 3: The mount feels loose on the wall. This is a major red flag and must be addressed. It almost always means the lag bolts aren’t secured properly into the studs or anchors. You might need to remove the mount, check your pilot holes, and re-drive the bolts. If you’re using drywall anchors, ensure they are rated for the weight and installed correctly. Never compromise on wall security. The Click TV Wall Mount Manual will have specific torque recommendations for the lag bolts; ensure you’re meeting those. Issue 4: The ‘click’ isn’t happening. If your mount is designed to click into place, and it’s not, do not force it. Re-check the alignment of the TV arms with the wall plate. Sometimes a slight adjustment or ensuring no cables are obstructing the mechanism is all that’s needed. If it still won’t engage, there might be a manufacturing defect, and you should contact customer support. Remember, safety is paramount. If you’re ever in doubt, stop and seek professional help. It’s better than a TV on the floor!

Maintaining Your Mounted TV

So, you’ve successfully mounted your TV using the Click TV Wall Mount Manual , and it looks fantastic! But the job isn’t quite done. A little bit of maintenance goes a long way to ensure your TV stays put and continues to look great. First off, periodic checks are key . Every few months, give your TV a gentle wiggle (don’t go crazy, just a light test) to ensure the mount is still solid against the wall. Check that all screws and bolts are still tight. Vibration from speakers or just general house settling can sometimes loosen things over time. Refer back to the Click TV Wall Mount Manual for any specific maintenance recommendations. Cleaning is another important aspect. Dust can accumulate on the mount and around the TV, which can affect heat dissipation. Use a soft, dry microfiber cloth to gently wipe down the mount and the TV’s bezels. Avoid using harsh chemicals or excessive moisture, as these can damage the mount’s finish or the TV itself. If you need to clean near the screen, use a screen-specific cleaner and follow your TV manufacturer’s guidelines. Cable Management should also be reviewed. Are your cables looking a bit jumbled? Re-tidy them using the clips or raceways you might have installed. This not only looks neater but also prevents cables from snagging or putting undue stress on the ports. If you’ve recently added new devices, ensure the cable routing is still safe and secure. Finally, be mindful of weight distribution if you plan to attach anything else to the mount or the wall around it. The mount is designed for your TV, and adding significant extra weight might compromise its integrity. Always check the Click TV Wall Mount Manual for any weight limitations beyond the TV itself, though most users won’t encounter this. By following these simple maintenance tips, you can ensure your TV stays safely and securely mounted for years to come, looking as good as the day you installed it!